| Sign In | Join Free | My isp.org.cn |
|
Applicable Industries : Energy & Mining
Showroom Location : Indonesia
Condition : New
Type : Magnetic Separator, GF-200
Production Capacity : 98%
Place of Origin : Shandong, China
Brand Name : GUOTE
Voltage : 220V/380V
Dimension(L*W*H) : Size
Weight : 750 KG
Warranty : 12 Months, 3 Months
Marketing Type : Other
Machinery Test Report : Provided
Video outgoing-inspection : Provided
Warranty of core components : 1 Year
Core Components : Motor
Key Selling Points : High Productivity
After-sales Service Provided : Engineers available to service machinery overseas
Width : 500-2000mm
Color : green or customers' requirements
Power : 2.2-5.5kw
Local Service Location : Viet Nam, Indonesia
Certification : ISO9001:2008
Packaging Details : standard export container,20GP,40GP ,40HQ,FR container,in bulk, the spare parts in wooden case or according to the customer's requirements
Port : Qingdao
Supply Ability : 260000 Set/Sets per Year
Price : $29,878.00/sets >=1 sets
MOQ : 1 set
1. Applications of Air Classifiers:
Series GF Air Classifier (Series GF Pneumatic Classifier)(For details, please contact me:Annie Chang,Mob:0086-18678029069(whatsapp),E-mail: Annieflower.chang dot sdguote.com)
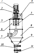
The classification device is composed of pneumatic classifier, cyclone, collector , induced draft fan,conmtrol cabinet etc . Equiped with second air inlet and vertical impeller rotor ,the materials are fed in visa the bottem roller under the force generated from the induced draft fan and then mixed with first input air to disperse particle and then brought to classifying zone .
Owing to the high rotary speed of classifying rotor, the particles are under the centrifugal force produced by the rotor and centripetal force generated from induced draft fan . When the centrifugal force is stronger than then centripetal force , the coarse particles fall down along inside roller. the second air is induced to sieve the coarse materials and seperate the fine powder that stick on or mixed with coarse . after the coarse material is discharged from classifier . the over -milled powder are collected by the cyclone and pulse collector .


2. Work Principle:
As a forced centrifugal classifier with secondary air entry and stand grading rotor, the classifier is composed of grading rotor, guide vane rectifier and screw feeder. The materials are fed through the upper cartridge and the grains will be sieved and well distributed by the incoming air, which brings the grain to the grading zone. The centrifugal force produced by the fast rotation of gather in the centripetal force by the pneumatic atheism act on the grading grains when the centrifugal force on the grain is greater than the centripetal force. The coarse grains above the grading range will be swirled down along the untrained wall, the second air will be rectified to uniform cockney through the guide wane and separate the thinner grains from the discharge port. The thinner grains below the grading range will be blasted to cyclone separator and collector whereas the purified air will be vented outside.(For details, please contact me:Annie Chang,Mob:0086-18678029069(whatsapp),E-mail: Annieflower.chang dot sdguote.com)

3.Technical Parameter

4. Technical Features:
1,The classifier used within the ceramic protection, less equipment wear,no pollution,high purity.
2,classifier structure is designed,almost by all large particles, high grading precision,large granular control.
3,classification by grading impeller speed and fan free to adjust the air volume, in order to obtain the required product, grading range.
4,adopts low speed vertical single impeller hierarchical structure , material flow is stable, equipment processing capacity,high classification effciency.
5,using multi-stage structure,at the same time granularity classification of several products,the particle size distribution to obtain the ideal.(For details, please contact me:Annie Chang,Mob:0086-18678029069(whatsapp),E-mail: Annieflower.chang dot sdguote.com)


5. Product Details

1.Higher Capacity
Special designed for coarse final product with higher capacity. Secondary air design improves the classifying efficiency.
2.Higher Hardness Material
Inside are easy for wear-resistant with kind of material, which can be suitable for material with higher hardness.
3.Higher Flexible Design
According to customers' workshop height, the motor driven way can be direct or belt. Inlet also can from top or from bottom.
4.(For details, please contact me:Annie Chang,Mob:0086-18678029069(whatsapp),E-mail: Annieflower.chang dot sdguote.com)
6. Customer Case

7. Application

Contact Information-
Annie Chang
Mob: +86 18678029069
(WhatsApp/wechat)
Skype:anna1983cyj ,QQ:896247401
Email:annieflower.chang at sdguote.com
website: https://sdguote.cnen.alibaba.com/
If you have any questions, pls don't hesitated to contacting me anytime.

Weifang GUOTE Mine Equipment co.ltd. is professional and modern enterprise including research and development, engineering design, production and installation, debugging services , automatic control equipment, non-metallic mineral production line test, design, consultation and the complete line of delivery.The scope of services related to mining, metallurgy, electric power, coal, glass, paper, chemical building materials, refractory materials, tiles,food, cement ,etc.Our product sell well in more than thirty provinces, autonomous region.(For details, please contact me:Annie Chang,Mob:0086-18678029069(wechat/whatsapp),E-mail: Annieflower.chang dot sdguote.com)
Our product have electromagnetic, permanent magnetic separator, dry wet magnetic separator,electromagnetic vibration feeder, quartz sand making machine, air classifier, dust collector, water separator, washing machine, flotation machine,metal detector, screw conveyor, timing quantitative feeding,weigher and centralized control system, etc.
Facing the new opportunities and challenges, the company in line with the spirit of "honesty-oriented, mutual benefit, cooperation and innovation" , dedicated to providing “dependable,simple and efficient” products and services to customers, make enterprises become domestic advanced mining equipment manufacturer.
Our company is willing to work together with people from all walks of life for a better future.
OEM Service
We could make whole production line or single equipment following different clients requirements.
For whole process as below:
For details, please contact me:
Annie Chang
Mob:0086-18678029069(whatsapp)
E-mail: Annieflower.chang dot sdguote.com
|
|
98% Efficiency GF-200 Air Classifier for Potash Feldspar and Albite Mining Processing Images |